التجاوز إلى المحتوى
  • مايو 22, 2026
آي-فون إسلام آي-فون إسلام

أول موقع عربي متخصص في أخبار الآيفون والآيباد، وتغطية شاملة لأحدث أجهزة أبل الذكية وتطبيقاتها، بالإضافة إلى كل ما يهمك في عالم التقنية والأجهزة الذكية.

آي-فون إسلام آي-فون إسلام

أول موقع عربي متخصص في أخبار الآيفون والآيباد، وتغطية شاملة لأحدث أجهزة أبل الذكية وتطبيقاتها، بالإضافة إلى كل ما يهمك في عالم التقنية والأجهزة الذكية.

  • الرئيسية
  • بحث جوجل
  • واتس اب
  • إنجازاتنا
  • الاسئلة المتكررة
  • تطبيقاتنا
  • شارك معنا
  • اتصل بنا
×

للمزيد  قم بتنزيل تطبيق فون إسلام الرسمي من متجر آبلمتاح في متجر البرامج

فبراير 2021
س د ن ث أرب خ ج
 12345
6789101112
13141516171819
20212223242526
2728  
« يناير   مارس »

وسوم

iOS iOS 11 iOS 16 iOS 17 iOS 18 آبل آي-باد آي-فون آي-فون 12 آي-فون 15 برو آي-فون 16 آي-فون X أندرويد أيتيونز إعلان الإبداع الخصوصية الذكاء الاصطناعي العاب تطبيقات إسلامية تطبيقات الانترنت تطبيقات الترفيه تطبيقات الصور تطبيقات الفيديو تطبيقات النظام تطبيقات عربية تطبيقات مجانية جوجل حصري حيل ساعة أبل سامسونج سيديا سيري فيرموير فيسبوك كاميرا مؤتمرات ماك مايكروسوفت مبتدئين معلومات ملحقات هاكرز واتساب
عام

من يصنع أفضل هاتف حاليا أبل أم سامسونج ؟

 كشف تقرير شركة أبحاث السوق Gartner لمبيعات الربع الأخير أن أبل كانت الشركة الأولى في…

أخبار
5 تعليقات

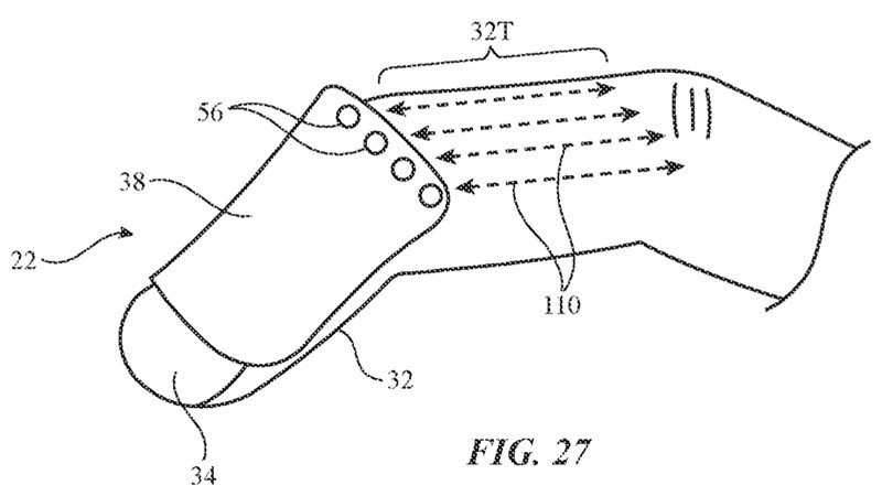
جهاز تحكم مثبت بالإصبع لنظارة الواقع المعزز في براءة اختراع جديدة من أبل

براءة اختراع جديدة لأبل عبارة عن جهاز مثبت بالأصابع ومزود بمجموعة من أجهزة الاستشعار وردود…

سبع تطبيقات
24 تعليقات

[537] اختيارات آي-فون إسلام لسبع تطبيقات مفيدة

هل تريد أن تكسب بعض المال بمجهود قليل؟ هذا التطبيق من جوجل قد يفيدك، وتطبيق…

أخبار على الهامش
11 تعليقات

أخبار على الهامش الأسبوع 19-25 فبراير

ذكرى ميلاد ستيف جوبز، وجوجل تضيف الخصوصية، وهواوي تعلن عن هاتف جديد قابل للطي، وتسريب…

كيف
7 تعليقات

طرق مسح رمز الاستجابة السريعة QR كود على الآي-فون والآي-باد

قامت أبل بدمج قارئ QR كود منذ تحديث iOS 11، ولم يعد هناك حاجة إلى…

كيف
19 تعليقات

للمبتدئين: كيف تلتقط صور أثناء تصوير فيديو في الآي-فون

 هل سبق لك أن التقطت مقطع فيديو وتمنيت أن تلتقط صورة في نفس الوقت، إذا…

أخبار
8 تعليقات

خمس ميزات يمكن لسماعة الرأس للواقع المعزز أن تقدمها

طبقا للتسريبات المتلاحقة في المرحلة السابقة بات شبه مؤكد أن أبل ستخرج لنا قريبا سماعة…

أخبار
14 تعليقات

أبل تزيد من صعوبة اختراق أجهزة الآي-فون عبر هجمات Zero-Click

 هل تتذكرون هجمات Zero-Click التي طالت عدد من مستخدمي الآي-فون على نطاق واسع الأعوام الماضية،…

كيف
13 تعليقات

منع إشعارات الاختصارات من الظهور عند تشغيل الاختصار

هناك الكثير من الاختصارات الرائعة التي يمكنك تشغيلها على الآي-فون وتجعل تجربتك للآي-فون أكثر روعة…

أخبار
16 تعليقات

ثلاثة عشر ميزة تتفرد بها عائلة آي-فون 12 عن أشقاءها

قد يرى البعض أن طرز آي-فون 12 ماهي إلا نسخة S أو تحديثات فرعية لطرز…

كيف
8 تعليقات

كيفية إزالة قفل التنشيط بسرعة من الآي-فون الخاص بك

قبل عدة سنوات، ابتكرت أبل ميزة أمان جديدة للآي-فون تهدف إلى تثبيط سرقته عن طريق…

تعدد صفحات المقالات

1 2 … 4

تصفح بشكل أفضل وقم بتنزيل تطبيق فون إسلام الرسمي من متجر آبلمتاح في متجر البرامج

© 2007 - 2026 | جميع الحقوق محفوظة لشركة  MIMV LLC  |  المالكة والمؤسسة لموقع آي-فون إسلام

  • أخبار
  • أخبار على الهامش
  • متجر التطبيقات
  • تحليل و نقاش
  • نصائح وألاعيب
  • مشاكل و حلول
  • كيف
  • فونجرام